Toyota Yaris Revue Technique: Reglage

Toyota Yaris Revue Technique / Systeme De Freinage (autres): Pedale De Frein (pour Hatchback) / Reglage

REGLAGE

1. VERIFIER ET REGLER LA PEDALE DE FREIN

(a) Vérifier la hauteur de la pédale de frein.

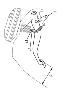
Texte du schéma

*1

Ensemble de contacteur des feux stop

*2

Tige de poussée

*3

Contre-écrou de la tige de poussée

*a

Hauteur de la pédale

Hauteur de la pédale par rapport au panneau de plancher:

136 à 146 mm (5,36 à 5,74 po)

Si la hauteur de la pédale de frein est incorrecte, la régler.

(b) Régler la hauteur de la pédale de frein.

(1) Débrancher le connecteur du contacteur des feux stop.

(2) Tourner le contacteur des feux stop dans le sens inverse des aiguilles d'une montre puis le déposer.

(3) Desserrer le contre-écrou de la tige de poussée.

(4) Régler la hauteur de la pédale en tournant la tige de poussée de la pédale.

Hauteur de la pédale par rapport au panneau de plancher:

136 à 146 mm (5,36 à 5,74 po)

(5) Serrer le contre-écrou de la tige de poussée.

Torque:

26 N·m {265 kgf·cm, 19ft·lbf}

(6) Introduire le contacteur des feux stop dans le dispositif de réglage jusqu'à ce qu'il touche la pédale de frein.

Texte du schéma

*1

Dispositif de réglage

*2

Ensemble de contacteur des feux stop

*3

Pédale de frein

REMARQUE:

Ne pas enfoncer la pédale de frein.

(7) Tourner d'un quart de tour dans le sens des aiguilles d'une montre pour reposer le contacteur des feux stop.

Texte du schéma

*1

Ensemble de contacteur des feux stop

*a

Jeu du contacteur des feux stop

REMARQUE:

Ne pas enfoncer la pédale de frein.

CONSEIL:

Respecter le couple de rotation pour la repose du contacteur des feux stop:

Torque:

1,5 N·m {15 kgf·cm, 13in·lbf}maximum

(8) Vérifier le jeu du contacteur des feux stop.

Jeu du contacteur des feux stop:

0,5 à 2,6 mm (0,020 à 0,102 po)

(9) Raccorder le connecteur au contacteur des feux stop.

2. VERIFIER LA GARDE A LA PEDALE DE FREIN

(a) Vérifier la garde à la pédale de frein.

Texte du schéma

*a

Garde à la pédale

(1) Couper le moteur et enfoncer la pédale de frein à plusieurs reprises jusqu'à élimination complète de la dépression dans le servofrein.

(2) Appuyer sur la pédale jusqu'à ce qu'une résistance se fasse sentir. Mesurer la distance, comme indiqué sur le schéma.

Garde à la pédale:

1,0 à 6,0 mm (0,0394 à 0,236 po)

Cependant, si elle semble anormale, effectuer la recherche de pannes du système de freinage.

3. VERIFIER LA COURSE DE RESERVE DE LA PEDALE DE FREIN

(a) Vérifier la course de réserve de la pédale de frein.

(1) Desserrer le levier de frein de stationnement. Moteur tournant, enfoncer la pédale et en mesurer la course de réserve, comme indiqué sur le schéma.

Course de réserve de la pédale par rapport au panneau de plancher à 300 N (31 kgf, 67,4 lbf.):

pour tambour de frein arrière

Au-dessus de 90 mm (3,54 po)

pour disque de frein arrière

Au-dessus de 93 mm (3,66 po)

CONSEIL:

Mesurer la hauteur de la pédale de frein entre la surface de base du plancher et la pédale comme indiqué sur le schéma.

Texte du schéma

*1

Pédale de frein

-

-

*a

Course de réserve

-

-

Plan de mesure

-

-

CONSEIL:

Lorsque la pédale de frein est enfoncée sans dépression, le servofrein produit un son et une résistance. Ceux-ci ne signifient pas qu'il y a un problème.

Cependant, si elle semble anormale, effectuer la recherche de pannes du système de freinage.

    Demontage

    Remontage

    Toyota Yaris Notice d'utilisation

    Toyota Yaris Revue Technique

    © 2018-2026 www.toyafr.com
    0.0145