Toyota Yaris Revue Technique: Demontage

Toyota Yaris Revue Technique / U340e Boite De Vitesses Automatique / Boite-pont: Boitier De Differentiel (pour Hatchback) / Demontage

DEMONTAGE

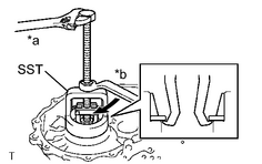
1. DEPOSER LE ROULEMENT A ROULEAUX CONIQUES AVANT DE BOITIER DE DIFFERENTIEL AVANT

(a) A l'aide du SST, déposer le chemin intérieur avant de roulement à rouleaux coniques du boîtier de différentiel avant.

Texte du schéma

*a

Maintenir

*b

Tourner

SST: 09950-40011

09951-04010

09952-04010

09953-04030

09954-04010

09955-04061

09957-04010

09958-04011

SST: 09950-60010

09951-00390

(b) A l'aide du SST, déposer le chemin extérieur de roulement à rouleaux coniques avant de boîtier de différentiel avant du logement de boîte-pont.

Texte du schéma

*a

Maintenir

*b

Tourner

SST: 09387-00041

09387-02020

09387-02010

2. DEPOSER LE ROULEMENT A ROULEAUX CONIQUES ARRIERE DE BOITIER DE DIFFERENTIEL AVANT

(a) A l'aide du SST, déposer le chemin intérieur arrière de roulement à rouleaux coniques du boîtier de différentiel avant.

Texte du schéma

*a

Maintenir

*b

Tourner

SST: 09950-40011

09951-04010

09952-04010

09953-04020

09954-04010

09955-04061

09957-04010

09958-04011

SST: 09950-60010

09951-00430

(b) A l'aide du SST, déposer le chemin extérieur de roulement à rouleaux coniques arrière de boîtier de différentiel avant et la cale du carter de boîte-pont de différentiel arrière du carter de boîte-pont.

Texte du schéma

*a

Maintenir

*b

Tourner

SST: 09612-65014

09612-01010

3. DEPOSER LA COURONNE DE DIFFERENTIEL AVANT

(a) Tracer des repères d'alignement sur la couronne de différentiel avant et sur le boîtier de différentiel.

Texte du schéma

*a

Repère d'alignement

(b) A l'aide du SST et d'un marteau, détacher la plaque de verrouillage de couronne.

SST: 09930-00010

(c) Déposer les 8 boulons et les 4 plaques de verrouillage de couronne.

(d) A l'aide d'un maillet en plastique, déposer la couronne de différentiel avant du boîtier de différentiel.

4. DEPOSER LA GOUPILLE DROITE D'AXE DE SATELLITE DE DIFFERENTIEL AVANT

(a) A l'aide d'un poinçon et d'un marteau, desserrer la partie freinée de l'orifice de boîtier de différentiel.

(b) A l'aide d'un poinçon effilé de 5 mm et d'un marteau, déposer la goupille droite d'axe de satellite de différentiel avant du boîtier de différentiel.

5. DEPOSER L'AXE DE SATELLITE DE DIFFERENTIEL AVANT N° 1

(a) Déposer l'axe de satellite de différentiel n° 1 du boîtier de différentiel.

6. DEPOSER LE KIT DE PIGNON DE DIFFERENTIEL

(a) Déposer le kit de pignon de différentiel (2 satellites de différentiel avant et 2 planétaires de différentiel avant), les 2 bagues de butée de planétaire de différentiel avant et les 2 bagues de butée de satellite de différentiel avant du boîtier de différentiel.

    Pieces Constitutives

    Verification

    Toyota Yaris Notice d'utilisation

    Toyota Yaris Revue Technique

    © 2018-2026 www.toyafr.com
    0.0099