Toyota Yaris Revue Technique: Mise Au Rebut

Toyota Yaris Revue Technique / Systemes De Retenue Supplementaire: Ensemble D'airbag D'assise De Siege Srs (pour Hatchback) / Mise Au Rebut

MISE AU REBUT

ATTENTION:

Avant d'effectuer le déploiement avant mise au rebut de toute pièce constitutive SRS, relire et suivre attentivement toutes les législations environnementales et relatives aux matériaux dangereux. Le déploiement avant mise au rebut peut être considéré comme un traitement de matériaux dangereux.

CONSEIL:

Avant mise à la casse d'un véhicule équipé d'un système SRS ou mise au rebut de l'ensemble d'airbag de siège avant, veiller à déployer au préalable l'airbag conformément à la procédure décrite ci-dessous. Si la moindre anomalie survient lors du déploiement de l'airbag, contacter immédiatement le service technique de TOYOTA MOTOR SALES, U.S.A., INC.

ATTENTION:

  • Un airbag ou un prétensionneur peut être activé par l'éléctricité statique. Pour éviter cela, veiller à toucher une surface métallique à mains nues afin d'en enlever l'électricité statique avant d'effectuer cette opération.
  • Ne jamais mettre au rebut un ensemble d'airbag d'assise de siège SRS qui ne s'est pas déployé.
  • L'airbag produit un bruit d'explosion lors de son déploiement. Exécuter donc cette opération à l'extérieur, dans un endroit où elle ne constituera pas une nuisance pour les voisins.
  • Lors du déploiement de l'airbag, toujours utiliser le SST prescrit (outil de déploiement d'airbag SRS). Effectuer cette opération dans un endroit exempt de parasites électriques.
  • Toujours se tenir à 10 m (33 pi) minimum de l'ensemble d'airbag d'assise de siège SRS lors de son déploiement.
  • L'ensemble d'airbag d'assise de siège SRS est brûlant après le déploiement de l'airbag; éviter donc de le toucher dans les 30 minutes minimum qui suivent le déploiement.
  • Porter des gants et des lunettes de protection lors de la manipulation d'un ensemble d'airbag d'assise de siège SRS qui s'est déployé.
  • Ne pas verser d'eau ou d'autre produit sur un ensemble d'airbag d'assise de siège SRS qui s'est déployé.
  • Toujours se laver les mains à l'eau une fois l'opération terminée.

1. METTRE AU REBUT L'ENSEMBLE D'AIRBAG D'ASSISE DE SIEGE SRS (lorsqu'il est posé dans le véhicule)

SST: 09082-00750

REMARQUE:

  • Lors de la mise au rebut de l'ensemble d'airbag d'assise de siège SRS, ne jamais utiliser le véhicule du client pour déployer l'airbag.
  • Veiller à respecter la procédure suivante lors du déploiement de l'airbag.

CONSEIL:

Préparer une batterie qui servira de source d'alimentation électrique pour le déploiement de l'airbag.

(a) Vérifier le fonctionnement du SST.

SST: 09082-00700

ATTENTION:

Toujours utiliser le SST prescrit (outil de déploiement d'airbag SRS) lors du déploiement de l'airbag rideau.

(1) Brancher la fiche rouge du SST sur la borne positive de la batterie et la fiche noire sur la borne négative de la batterie.

Texte du schéma

*1

Batterie

SST: 09082-00700

(2) Appuyer sur le contacteur d'activation du SST et s'assurer que la LED sur le contacteur d'activation du SST s'allume.

ATTENTION:

  • Ne pas raccorder le connecteur du SST (celui de couleur jaune) à l'airbag.
  • Si la LED s'allume sans que le contacteur d'activation soit enfoncé, il se peut que le SST soit défectueux. Ne pas utiliser le SST.

(3) Débrancher le SST de la batterie.

(b) Débrancher le câble de la borne négative (-) de la batterie.

ATTENTION:

Attendre au moins 90 secondes après avoir débranché le câble de la borne négative (-) de la batterie pour désactiver le système SRS.

(c) Débrancher le connecteur de l'ensemble d'airbag d'assise de siège SRS sous l'ensemble de siège avant.

REMARQUE:

Lors du débranchement d'un des connecteurs d'airbag, veiller à ne pas endommager le faisceau de câbles d'airbag.

(1) Faire glisser le coulisseau pour relâcher le verrouillage puis débrancher le connecteur d'airbag jaune sous l'ensemble de siège avant.

Texte du schéma

*1

Coulisseau

-

-

(d) Brancher le SST.

ATTENTION:

S'assurer que rien n'est desserré dans l'ensemble de siège avant.

(1) Brancher le connecteur du SST sur le connecteur de l'ensemble d'airbag d'assise de siège SRS.

Texte du schéma

*1

Coulisseau

SST: 09082-00700

REMARQUE:

Pour éviter d'endommager le connecteur ou le faisceau de câbles du SST, ne pas enclencher le verrouillage secondaire du double verrouillage.

(2) Eloigner le SST d'au moins 10 m (33 pi) de la vitre latérale avant.

Texte du schéma

*1

Batterie

(3) Fermer toutes les portes et fenêtres du véhicule en gardant juste assez d'espace pour faire passer le faisceau de câbles du SST par la vitre latérale avant.

REMARQUE:

Veiller à ne pas endommager le faisceau de câbles du SST.

(4) Brancher la fiche rouge du SST sur la borne positive (+) de la batterie et sa fiche noire sur la borne négative (-) de la batterie.

(e) Déployer l'airbag d'assise de siège SRS.

Texte du schéma

*1

Sac en plastique

(1) S'assurer qu'il n'y a personne dans le véhicule ni dans un rayon de 10 m (33 pi) autour de celui-ci.

(2) Enfoncer le contacteur d'activation du SST et procéder au déploiement de l'airbag.

ATTENTION:

  • Avant le déploiement, s'assurer qu'il n'y a personne près du véhicule.
  • L'ensemble d'airbag d'assise de siège SRS est brûlant après le déploiement de l'airbag; éviter donc de le toucher dans les 30 minutes minimum qui suivent le déploiement.
  • Porter des gants et des lunettes de protection lors de la manipulation d'un ensemble d'airbag d'assise de siège SRS qui s'est déployé.
  • Ne pas verser d'eau ou d'autre produit sur un ensemble d'airbag d'assise de siège SRS qui s'est déployé.
  • Toujours se laver les mains à l'eau une fois l'opération terminée.

CONSEIL:

L'airbag se déploie au moment où la LED du contacteur d'activation du SST s'allume.

2. METTRE AU REBUT L'ENSEMBLE D'AIRBAG LATERAL DE SIEGE AVANT (lorsqu'il n'est pas reposé dans le véhicule)

REMARQUE:

Veiller à respecter la procédure suivante lors du déploiement de l'airbag.

CONSEIL:

Préparer une batterie qui servira de source d'alimentation électrique pour le déploiement de l'airbag.

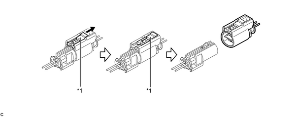
(a) Vérifier le fonctionnement du SST.

SST: 09082-00700

ATTENTION:

Toujours utiliser le SST prescrit (outil de déploiement d'airbag SRS) lors du déploiement de l'airbag rideau.

(1) Brancher la fiche rouge du SST sur la borne positive de la batterie et la fiche noire sur la borne négative de la batterie.

Texte du schéma

*1

Batterie

SST: 09082-00700

(2) Appuyer sur le contacteur d'activation du SST et s'assurer que la LED sur le contacteur d'activation du SST s'allume.

ATTENTION:

  • Ne pas raccorder le connecteur du SST (celui de couleur jaune) à l'airbag.
  • Si la LED s'allume sans que le contacteur d'activation soit enfoncé, il se peut que le SST soit défectueux. Ne pas utiliser le SST.

(3) Débrancher le SST de la batterie.

(b) Déposer l'ensemble d'airbag d'assise de siège SRS .

ATTENTION:

  • Avant de déposer l'ensemble d'airbag d'assise de siège SRS, attendre au moins 90 secondes après avoir mis le contacteur d'alimentation en position OFF et avoir débranché le câble de la borne négative (-) de la batterie.
  • Lors du stockage de l'ensemble d'airbag d'assise de siège SRS, veiller à ce que le côté de déploiement de l'airbag soit orienté vers le haut.

(c) A l'aide d'un faisceau de câbles torsadé, arrimer l'ensemble d'airbag d'assise de siège SRS à un pneu non utilisé.

Texte du schéma

*a

Section de la partie striée du faisceau de câbles

Section de la partie striée du faisceau de câbles:

Zone

Mesure

A

1,25 mm 2 (0,0019 po. 2 ) minimum

ATTENTION:

Ne pas utiliser un faisceau de câbles trop fin ni un autre objet pour attacher l'ensemble d'airbag d'assise de siège SRS car il risque de se casser net suite au choc produit par le déploiement de l'airbag. Toujours utiliser un faisceau de câbles à usage automobile de 1,25 mm 2 (0,0019 po. 2 ) minimum en coupe transversale.

CONSEIL:

Pour calculer la surface de la section de la partie striée du câble:

Surface = 3,14 x (diamètre) 2 / 4

(1) Reposer les 2 écrous sur l'ensemble d'airbag d'assise de siège SRS.

(2) Enrouler les câbles autour des goujons filetés de l'ensemble d'airbag d'assise de siège SRS, comme indiqué sur le schéma.

(3) Placer l'ensemble d'airbag d'assise de siège SRS dans le pneu.

Dimension des pneus:

Zone

Mesure

A

185 mm (7,28 po)

B

360 mm (14,17 po)

ATTENTION:

  • Veiller à ce que les câbles soient bien serrés. Si les câbles ont du mou, l'ensemble d'airbag d'assise de siège SRS risque de se casser lors du déploiement de l'airbag.
  • Orienter la surface de déploiement de l'ensemble d'airbag d'assise de siège SRS vers l'intérieur du pneu afin de distribuer uniformément la force de déploiement.

REMARQUE:

Le déploiement de l'airbag rideau déforme le pneu. Utiliser donc un pneu de récupération.

(d) Brancher le SST.

(1) Brancher le connecteur du SST sur le connecteur de l'ensemble d'airbag d'assise de siège SRS.

SST: 09082-00750

(e) Placer les pneus.

Texte du schéma

*1

Pneus (2 minimum)

(1) Placer au moins 2 pneus sous celui auquel l'ensemble d'airbag d'assise de siège SRS est attaché.

(2) Placer au moins 2 pneus sur celui auquel l'ensemble d'airbag d'assise de siège SRS est attaché. Le pneu supérieur doit être posé sur une roue.

REMARQUE:

  • Ne pas placer le connecteur du SST sous le pneu car cela pourrait l'endommager.
  • Le déploiement de l'airbag endommageant la jante, utiliser une jante de récupération.
  • Le déploiement de l'airbag endommageant les pneus, utiliser des pneus de récupération.

(3) Attacher les pneus l'un à l'autre à l'aide de 2 câbles.

ATTENTION:

Veiller à ce que les câbles soient bien serrés. Si les câbles ne sont pas bien serrés, les pneus risquent de se détacher suite au déploiement de l'airbag.

(f) Brancher le SST.

(1) Brancher le connecteur SST.

Texte du schéma

*1

Batterie

SST: 09082-00700

REMARQUE:

Pour éviter d'endommager le connecteur ou le faisceau de câbles du SST, ne pas enclencher le verrouillage secondaire du double verrouillage. De même, laisser du mou au faisceau de câbles du SST à l'intérieur du pneu.

(2) Eloigner le SST d'au moins 10 m (33 pi) de l'airbag arrimé au pneu.

(g) Déployer l'airbag.

(1) Brancher la fiche rouge du SST sur la borne positive (+) de la batterie et sa fiche noire sur la borne négative (-) de la batterie.

(2) S'assurer qu'il n'y a personne dans un rayon de 10 m (33 pi) autour du pneu auquel l'ensemble d'airbag d'assise de siège SRS est attaché.

(3) Enfoncer le contacteur d'activation du SST et procéder au déploiement de l'airbag.

ATTENTION:

Avant de déployer l'airbag, s'assurer qu'il n'y a personne près de l'airbag.

CONSEIL:

L'airbag se déploie au moment où la LED du contacteur d'activation du SST s'allume.

(h) Mettre au rebut l'ensemble d'airbag d'assise de siège SRS.

Texte du schéma

*1

Sac en plastique

ATTENTION:

  • L'ensemble d'airbag d'assise de siège SRS est brûlant après le déploiement de l'airbag; éviter donc de le toucher dans les 30 minutes minimum qui suivent le déploiement.
  • Porter des gants et des lunettes de protection lors de la manipulation d'un ensemble d'airbag d'assise de siège SRS qui s'est déployé.
  • Ne pas verser d'eau ou d'autre produit sur un ensemble d'airbag d'assise de siège SRS qui s'est déployé.
  • Toujours se laver les mains à l'eau une fois l'opération terminée.

(1) Déposer du pneu l'ensemble d'airbag d'assise de siège SRS.

(2) Mettre l'ensemble d'airbag d'assise de siège SRS dans un sac en plastique, fermer hermétiquement et mettre au rebut selon les réglementations locales en vigueur.

    Repose

    Ensemble D'airbag Du Passager Avant (pour Hatchback)

    Toyota Yaris Notice d'utilisation

    Toyota Yaris Revue Technique

    © 2018-2026 www.toyafr.com
    0.0097