Manuels
Notice d'utilisation
Revue Technique
Nouveau
Populaire
Plan du site
Chercher
Toyota Yaris Revue Technique: Schema Du Systeme
Toyota Yaris Revue Technique
/ Verrouillage Des Portes:
Systeme De Verrouillage Centralise Des Portes (pour Berlines)
/ Schema Du Systeme
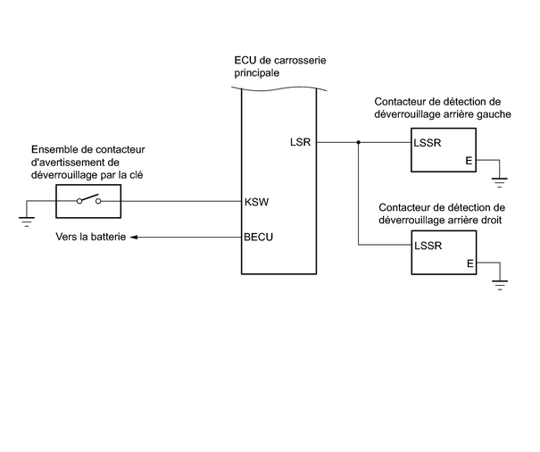
SCHEMA DU SYSTEME
Description Du Systeme
Comment Utiliser La Recherche De Pannes
Toyota Yaris Notice d'utilisation
Utilisation de ce manuel
Index illustré
Équipement sécuritaire essentiel
Avant de conduire
En cours de conduite
Fonctions intérieures
Entretien
En cas de problèmes
Informations à la clientèle et signalement des problèmes de sécurité
Spécifications
Toyota Yaris Revue Technique
Entretien
Introduction
Audio / Video
Colonne De Direction
Mecanisme / Tringlerie De Direction
Systemes D'assistance De Direction
Avertisseur Sonore
Eclairage (ext)
Essuie-glace / Lave-glace
Panneaux / Habillage Exterieurs
Portes / Hayon
Retroviseurs (ext)
Vitres / Fenetres
Commande De Freinage / Systemes De Commande Dynamique
Frein De Stationnement
Freins (arriere)
Freins (avant)
Systeme De Freinage (autres)
Antivol / Ouverture Sans Cle
Ceinture De Securite
Chauffage / Climatisation
Compteurs / Jauges / Affichage
Eclairage (int)
Panneaux / Habillage Interieurs
Prises Electriques (int)
Retroviseur (int)
Sieges
Systemes De Retenue Supplementaire
Verrouillage Des Portes
1nz-fe Batterie / Charge
Distribution Electrique
Fonctionnement En Reseau
Alignement / Diagnostics De Manipulation
Controle De Pression Des Pneus
Pneus / Roues
Suspension Arriere
Suspension Avant
Arbre De Roue / Arbre De Transmission
C50 Boite De Vitesses Manuelle / Boite-pont
Embrayage
Essieu Et Differentiel
U340e Boite De Vitesses Automatique / Boite-pont
© 2018-2026 www.toyafr.com
0.0075