Toyota Yaris Revue Technique: Dysfonctionnement du circuit du capteur d'airbag arrière gauche (B1635/24,B1637/82)

Toyota Yaris Revue Technique / Systemes De Retenue Supplementaire: Systeme D'airbag (pour Hatchback) / Dysfonctionnement du circuit du capteur d'airbag arrière gauche (B1635/24,B1637/82)

DESCRIPTION

L'ensemble de capteur d'airbag latéral gauche n° 2 se compose du capteur de surveillance, du circuit de diagnostic, du capteur de décélération latérale, etc.

Lorsque l'ensemble de capteur d'airbag reçoit les signaux émis par le capteur de décélération latérale, il décide si le système SRS doit être activé ou non.

Le DTC B1635/24 ou B1637/82 est enregistré lorsqu'un dysfonctionnement est détecté dans le circuit de l'ensemble de capteur d'airbag latéral gauche n° 2.

N° de DTC

Condition de détection du DTC

Organe incriminé

B1635/24

B1637/82

Lorsque l'une des conditions suivantes est remplie:

  • Dysfonctionnement de l'ensemble de capteur d'airbag latéral n° 2 gauche
  • Dysfonctionnement de l'ensemble de capteur d'airbag
  • Ensemble de capteur d'airbag latéral n° 2 gauche
  • Ensemble de capteur d'airbag

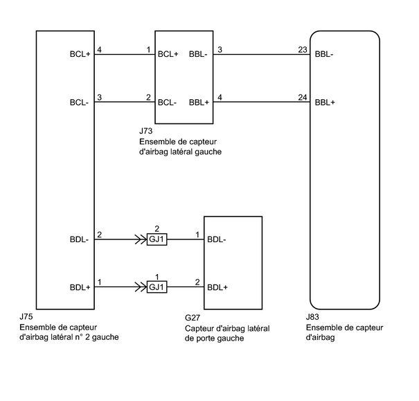
SCHEMA DE CABLAGE

PROCEDURE DE VERIFICATION

PROCEDURE

1.

VERIFIER L'ENSEMBLE DE CAPTEUR D'AIRBAG LATERAL N° 2 GAUCHE

(a) Mettre le contacteur d'allumage en position OFF.

(b) Débrancher le câble de la borne négative (-) de la batterie.

ATTENTION:

Attendre au moins 90 secondes après avoir débranché le câble de la borne négative (-) de la batterie pour désactiver le système SRS.

(c) Intervertir l'ensemble de capteur d'airbag latéral gauche n° 2 et l'ensemble de capteur d'airbag latéral droit n° 2 puis brancher les connecteurs sur ces derniers.

Texte du schéma

*1

Ensemble de capteur d'airbag latéral n° 2 droit

*2

Ensemble de capteur d'airbag latéral gauche

(d) Brancher le câble à la borne négative de la batterie et attendre au moins 2 secondes.

(e) Mettre le contacteur d'allumage en position ON et attendre 60 secondes minimum.

(f) Supprimer les DTC enregistrés dans la mémoire .

(g) Mettre le contacteur d'allumage en position OFF.

(h) Mettre le contacteur d'allumage en position ON et attendre 60 secondes minimum.

(i) Vérifier les DTC .

Résultat

Résultat

Passer au point

Les DTC B1630/23, B1632/81, B1635/24 et B1637/82 ne sont pas émis

A

Le DTC B1630/23 ou B1632/81 est émis

(pour 5 portes)

B

Le DTC B1630/23 ou B1632/81 est émis

(pour 3 portes)

C

Le DTC B1635/24 ou B1637/82 est émis

D

CONSEIL:

D'autres codes que les DTC B1630/23, B1632/81, B1635/24 et B1637/82 peuvent être émis à ce stade, mais ils sont sans objet pour cette vérification.

(j) Mettre le contacteur d'allumage en position OFF.

(k) Débrancher le câble de la borne négative (-) de la batterie.

ATTENTION:

Attendre au moins 90 secondes après avoir débranché le câble de la borne négative (-) de la batterie pour désactiver le système SRS.

(l) Remettre l'ensemble de capteur d'airbag latéral gauche n° 2 et l'ensemble de capteur d'airbag latéral droit n° 2 dans leurs positions initiales et brancher les connecteurs sur ces derniers.

B

REMPLACER L'ENSEMBLE DE CAPTEUR D'AIRBAG LATERAL N° 2 GAUCHE

C

REMPLACER L'ENSEMBLE DE CAPTEUR D'AIRBAG LATERAL N° 2 GAUCHE

D

REMPLACER L'ENSEMBLE DE CAPTEUR D'AIRBAG

A

UTILISER LA METHODE DE SIMULATION POUR EFFECTUER LA VERIFICATION

    Initialisation de l'ensemble de capteur d'airbag arrière droit inachevée (B1633/81)

    Initialisation de l'ensemble de capteur d'airbag arrière gauche inachevée (B1638/82)

    Toyota Yaris Notice d'utilisation

    Toyota Yaris Revue Technique

    © 2018-2026 www.toyafr.com
    0.0085