Toyota Yaris Revue Technique: Circuit du témoin des feux de croisement

Toyota Yaris Revue Technique / Eclairage (ext): Systeme D'eclairage (pour Hatchback) / Circuit du témoin des feux de croisement

DESCRIPTION

L'ECU de carrosserie principale commande les feux de croisement.

SCHEMA DE CABLAGE

PROCEDURE DE VERIFICATION

REMARQUE:

Vérifier les fusibles pour les circuits liés à ce système avant d'effectuer la procédure de vérification suivante.

PROCEDURE

1.

CONFIRMER LE TYPE DE VEHICULE

(a) Confirmer le type de véhicule.

Résultat

Résultat

Passer au point

pour DRL de type ampoule

A

pour DRL de type LED

B

B

PASSER AU POINT 8

A

2.

EFFECTUER L'ACTIVE TEST A L'AIDE DU TECHSTREAM (HEADLIGHT RELAY)

(a) Brancher le Techstream sur le DLC3.

(b) Mettre le contacteur d'allumage en position ON.

(c) Allumer le Techstream.

(d) Sélectionner les menus suivants: Body Electrical / Main Body / Active Test.

(e) Effectuer l'Active Test en suivant les indications du Techstream.

Carrosserie principale

Affichage du tester

Elément testé

Plage de commande

Note de diagnostic

Headlight Relay

Relais des feux de jour

OFF ou ON

-

OK:

Le relais de feux de jour fonctionne. (les feux de croisement s'allument).

INCORRECT

PASSER AU POINT 3

OK

PASSER A L'ORGANE INCRIMINE SUIVANT INDIQUE DANS LE TABLEAU DES SYMPTOMES DE PROBLEMES

3.

VERIFIER LES PHARES

(a) Vérifier le fonctionnement des feux de route.

OK:

Les feux de route fonctionnent normalement.

INCORRECT

SE REPORTER AU TABLEAU DES SYMPTOMES DE PROBLEMES

OK

4.

VERIFIER LE RELAIS DES FEUX DE JOUR

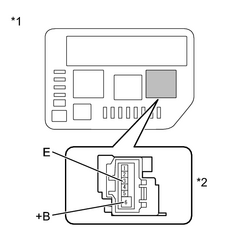
(a) Déposer le relais des feux de jour du bloc de relais n° 2 de compartiment moteur.

(b) Brancher le câble positif (+) de la batterie sur la borne 6 (+B).

(c) Brancher le câble négatif (-) de la batterie sur la borne 4 (H) et 3 (E).

(d) Mesurer la tension en fonction de la (des) valeur(s) indiquée(s) dans le tableau ci-dessous.

Tension standard:

Branchement du tester

Condition

Condition spécifiée

1 (HLOR) - Borne négative de la batterie

En permanence

11 à 14 V

5 (HLOL) - Borne négative de la batterie

En permanence

11 à 14 V

Texte du schéma

*a

Pièce constitutive sans faisceau de câbles branché

(relais des feux de jour)

INCORRECT

REMPLACER LE RELAIS DES FEUX DE JOUR

OK

5.

VERIFIER LE FAISCEAU DE CABLES ET LE CONNECTEUR (RELAIS DE FEUX DE JOUR - RELAIS D'INVERSEUR FEUX DE ROUTE ET MASSE DE CARROSSERIE)

(a) Déposer le relais des feux de jour du bloc de relais n° 2 de compartiment moteur.

(b) Mesurer la tension en fonction de la (des) valeur(s) indiquée(s) dans le tableau ci-dessous.

Tension standard:

Branchement du tester

Condition

Condition spécifiée

DRL-6 (+B) - Masse de carrosserie

En permanence

11 à 14 V

(c) Mesurer la résistance en fonction de la (des) valeur(s) indiquée(s) dans le tableau ci-dessous.

Résistance standard:

Branchement du tester

Condition

Condition spécifiée

DRL-3 (E) - Masse de carrosserie

En permanence

En dessous de 1 Ω

Texte du schéma

*1

Bloc relais du compartiment moteur n° 2

*2

Borne du relais des feux de jour

INCORRECT

REPARER OU REMPLACER LE FAISCEAU DE CABLES OU LE CONNECTEUR

OK

6.

VERIFIER LE FAISCEAU DE CABLES ET LE CONNECTEUR (RELAIS DES FEUX DE JOUR - ENSEMBLE DE BLOC DE JONCTION DE TABLEAU DE BORD)

(a) Déposer le relais des feux de jour de l'ensemble de bloc de relais de compartiment moteur n° 2.

(b) Débrancher le connecteur 3C de l'ensemble de bloc de jonction de tableau de bord.

(c) Mesurer la résistance en fonction de la (des) valeur(s) indiquée(s) dans le tableau ci-dessous.

Résistance standard:

Branchement du tester

Condition

Condition spécifiée

DRL-4 (H) - 3C-18

En permanence

En dessous de 1 Ω

DRL-4 (H) ou 3C-18 - Masse de carrosserie

En permanence

10 kΩ minimum

INCORRECT

REPARER OU REMPLACER LE FAISCEAU DE CABLES OU LE CONNECTEUR

OK

7.

VERIFIER L'ENSEMBLE DE BLOC DE JONCTION DE TABLEAU DE BORD

(a) Déposer l'ensemble de bloc de jonction de tableau de bord .

(b) Déposer l'ECU de carrosserie principale de l'ensemble de bloc de jonction de tableau de bord .

(c) Mesurer la résistance en fonction de la (des) valeur(s) indiquée(s) dans le tableau ci-dessous.

Texte du schéma

*a

Pièce constitutive sans faisceau de câbles branché

(ensemble de bloc de jonction de tableau de bord)

-

-

Résistance standard:

Branchement du tester

Condition

Condition spécifiée

3C-18 - MB-15 (HRLY)

En permanence

En dessous de 1 Ω

INCORRECT

REMPLACER L'ENSEMBLE DE BLOC DE JONCTION DE TABLEAU DE BORD

OK

REMPLACER L'ECU DE CARROSSERIE PRINCIPALE

8.

EFFECTUER L'ACTIVE TEST A L'AIDE DU TECHSTREAM (HEADLIGHT RELAY)

(a) Brancher le Techstream sur le DLC3.

(b) Mettre le contacteur d'allumage en position ON (IG).

(c) Allumer le Techstream.

(d) Sélectionner les menus suivants: Body Electrical / Main Body / Active Test.

(e) Effectuer l'Active Test en suivant les indications du Techstream.

Carrosserie principale

Affichage du tester

Elément testé

Plage de commande

Note de diagnostic

Headlight Relay

Relais des phares

OFF ou ON

-

OK:

Le relais de phare fonctionne (les feux de croisement s'allument).

INCORRECT

PASSER AU POINT 9

OK

PASSER A L'ORGANE INCRIMINE SUIVANT INDIQUE DANS LE TABLEAU DES SYMPTOMES DE PROBLEMES

9.

VERIFIER LE RELAIS DES PHARES (RELAIS H-LP/US-DRL)

(a) Vérifier le relais de phare (relais H-LP/US-DRL) .

INCORRECT

REMPLACER LE RELAIS DES PHARES (RELAIS H-LP)

OK

10.

VERIFIER LE FAISCEAU DE CABLES ET LE CONNECTEUR (RELAIS DE PHARE - BATTERIE)

(a) Déposer le relais de phares (relais H-LP/US-DRL) du bloc de relais de compartiment moteur n° 2.

(b) Mesurer la tension en fonction de la (des) valeur(s) indiquée(s) dans le tableau ci-dessous.

Tension standard:

Branchement du tester

Condition

Condition spécifiée

H-LP/US-DRL-1 - Masse de carrosserie

En permanence

11 à 14 V

H-LP/US-DRL-3 - Masse de carrosserie

En permanence

11 à 14 V

Texte du schéma

*1

Bloc relais du compartiment moteur n° 2

*2

Support de relais des phares (RELAIS H-LP/US-DRL)

INCORRECT

REPARER OU REMPLACER LE FAISCEAU DE CABLES OU LE CONNECTEUR

OK

11.

VERIFIER LE FAISCEAU DE CABLES ET LE CONNECTEUR (RELAIS DE PHARE - ENSEMBLE DE BLOC DE JONCTION DE TABLEAU DE BORD)

(a) Déposer le relais de phares (relais H-LP/US-DRL) du bloc de relais de compartiment moteur n° 2.

(b) Débrancher le connecteur 3C de l'ensemble de bloc de jonction de tableau de bord.

(c) Mesurer la résistance en fonction de la (des) valeur(s) indiquée(s) dans le tableau ci-dessous.

Résistance standard:

Branchement du tester

Condition

Condition spécifiée

H-LP/US-DRL- 2 - 3C-18

En permanence

En dessous de 1 Ω

H-LP/US-DRL- 2 ou 3C-18 - Masse de carrosserie

En permanence

10 kΩ minimum

INCORRECT

REPARER OU REMPLACER LE FAISCEAU DE CABLES OU LE CONNECTEUR

OK

12.

VERIFIER L'ENSEMBLE DE BLOC DE JONCTION DE TABLEAU DE BORD

(a) Déposer l'ensemble de bloc de jonction de tableau de bord.

(b) Déposer l'ECU de carrosserie principale de l'ensemble de bloc de jonction de tableau de bord.

(c) Mesurer la résistance en fonction de la (des) valeur(s) indiquée(s) dans le tableau ci-dessous.

Texte du schéma

*a

Pièce constitutive sans faisceau de câbles branché

(ensemble de bloc de jonction de tableau de bord)

-

-

Résistance standard:

Branchement du tester

Condition

Condition spécifiée

3C-18 - MB-15 (HRLY)

En permanence

En dessous de 1 Ω

INCORRECT

REMPLACER L'ENSEMBLE DE BLOC DE JONCTION DE TABLEAU DE BORD

OK

REMPLACER L'ECU DE CARROSSERIE PRINCIPALE

    Circuit du relais des feux arrière

    Circuit du témoin des feux de route

    Toyota Yaris Notice d'utilisation

    Toyota Yaris Revue Technique

    © 2018-2026 www.toyafr.com
    0.0087