Toyota Yaris Revue Technique: Circuit du témoin des feux de route

Toyota Yaris Revue Technique / Eclairage (ext): Systeme D'eclairage (pour Hatchback) / Circuit du témoin des feux de route

DESCRIPTION

L'ECU de carrosserie principale commande les feux de route.

SCHEMA DE CABLAGE

PROCEDURE DE VERIFICATION

REMARQUE:

Vérifier les fusibles pour les circuits liés à ce système avant d'effectuer la procédure de vérification suivante.

PROCEDURE

1.

EFFECTUER L'ACTIVE TEST A L'AIDE DU TECHSTREAM (HEAD LIGHT HI)

(a) Brancher le Techstream sur le DLC3.

(b) Mettre le contacteur d'allumage en position ON.

(c) Allumer le Techstream.

(d) Sélectionner les menus suivants: Body Electrical / Main Body / Active Test.

(e) Effectuer l'Active Test en suivant les indications du Techstream.

Carrosserie principale

Affichage du tester

Elément testé

Plage de commande

Note de diagnostic

Head Light Hi

Relais d'inverseur feux de route/croisement

OFF ou ON

-

OK:

Le relais d'inverseur feux de route/croisement fonctionne (les feux de route s'allument).

INCORRECT

PASSER AU POINT 2

OK

PASSER A L'ORGANE INCRIMINE SUIVANT INDIQUE DANS LE TABLEAU DES SYMPTOMES DE PROBLEMES

2.

VERIFIER LE RELAIS D'INVERSEUR FEUX DE ROUTE/CROISEMENT (RELAIS DIM)

(a) Déposer le relais d'inverseur feux de route/croisement (relais DIM).

(b) Vérifier le relais d'inverseur feux de route/croisement (relais DIM) .

INCORRECT

REMPLACER LE RELAIS D'INVERSEUR FEUX DE ROUTE/CROISEMENT (RELAIS DIM)

OK

3.

VERIFIER LE FAISCEAU DE CABLES ET LE CONNECTEUR (RELAIS D'INVERSEUR FEUX DE ROUTE/CROISEMENT - BATTERIE)

(a) Déposer le relais d'inverseur feux de route/croisement (relais DIM) du bloc de relais de compartiment moteur n° 2.

(b) Mesurer la tension en fonction de la (des) valeur(s) indiquée(s) dans le tableau ci-dessous.

Tension standard:

Branchement du tester

Condition

Condition spécifiée

DIM-1 - Masse de carrosserie*1

En permanence

11 à 14 V

DIM-2 - Masse de carrosserie*2

En permanence

11 à 14 V

DIM-3 - Masse de carrosserie*1

En permanence

11 à 14 V

DIM-5 - Masse de carrosserie*2

En permanence

11 à 14 V

  • *1: pour DRL de type ampoule
  • *2: pour DRL de type LED
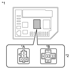
Texte du schéma

*A

pour DRL de type LED

*B

pour DRL de type ampoule

*1

Bloc relais du compartiment moteur n° 2

*2

Support de relais d'inverseur feux de route/croisement (relais DIM)

INCORRECT

REPARER OU REMPLACER LE FAISCEAU DE CABLES OU LE CONNECTEUR

OK

4.

VERIFIER LE FAISCEAU DE CABLES ET LE CONNECTEUR (RELAIS D'INVERSEUR FEUX DE ROUTE/CROISEMENT - ENSEMBLE DE BLOC DE JONCTION DE TABLEAU DE BORD)

(a) Déposer le relais d'inverseur feux de route/croisement (relais DIM) du bloc de relais de compartiment moteur n° 2.

(b) Débrancher le connecteur 3C de l'ensemble de bloc de jonction de tableau de bord.

(c) Mesurer la résistance en fonction de la (des) valeur(s) indiquée(s) dans le tableau ci-dessous.

Résistance standard:

Branchement du tester

Condition

Condition spécifiée

DIM-2 - 3C-35*1

En permanence

En dessous de 1 Ω

DIM-1 - 3C-35*2

En permanence

En dessous de 1 Ω

DIM-2 ou 3C-35*1 - Masse de carrosserie

En permanence

10 kΩ minimum

DIM-1 ou 3C-35*2 - Masse de carrosserie

En permanence

10 kΩ minimum

  • *1: pour DRL de type ampoule
  • *2: pour DRL de type LED
INCORRECT

REPARER OU REMPLACER LE FAISCEAU DE CABLES OU LE CONNECTEUR

OK

5.

VERIFIER L'ENSEMBLE DE BLOC DE JONCTION DE TABLEAU DE BORD

(a) Déposer l'ensemble de bloc de jonction de tableau de bord .

(b) Déposer l'ECU de carrosserie principale de l'ensemble de bloc de jonction de tableau de bord .

(c) Mesurer la résistance en fonction de la (des) valeur(s) indiquée(s) dans le tableau ci-dessous.

Texte du schéma

*a

Pièce constitutive sans faisceau de câbles branché

(ensemble de bloc de jonction de tableau de bord)

-

-

Résistance standard:

Branchement du tester

Condition

Condition spécifiée

3C-35 - MB-22 (DIM)

En permanence

En dessous de 1 Ω

INCORRECT

REMPLACER L'ENSEMBLE DE BLOC DE JONCTION DE TABLEAU DE BORD

OK

PASSER A L'ORGANE INCRIMINE SUIVANT INDIQUE DANS LE TABLEAU DES SYMPTOMES DE PROBLEMES

    Circuit du témoin des feux de croisement

    Systeme D'eclairage (pour Berlines)

    Toyota Yaris Notice d'utilisation

    Toyota Yaris Revue Technique

    © 2018-2026 www.toyafr.com
    0.0081