Toyota Yaris Revue Technique: Verification

VERIFICATION

1. VERIFIER LE SOUS-ENSEMBLE DE CONTACTEUR DE DEVERROUILLAGE DE PORTE

(a) Vérifier la résistance.

Texte du schéma

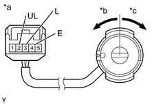
*a

Pièce constitutive sans faisceau de câbles branché

(Sous-ensemble de contacteur de déverrouillage de porte)

*b

DEVERROUILLER

*c

VERROUILLER

(1) Mesurer la résistance en fonction de la (des) valeur(s) indiquée(s) dans le tableau ci-dessous.

Résistance standard:

Branchement du tester

Condition

Condition spécifiée

3 (L) - 4 (E)

VERROUILLER

10 kΩ minimum

OFF

En dessous de 1 Ω

2 (UL) - 4 (E)

DEVERROUILLER

10 kΩ minimum

OFF

En dessous de 1 Ω

Si le résultat n'est pas conforme aux spécifications, remplacer le contacteur de déverrouillage de porte.

    Demontage

    Reglage

    Toyota Yaris Notice d'utilisation

    Toyota Yaris Revue Technique

    © 2018-2026 www.toyafr.com
    0.0118