Toyota Yaris Revue Technique: Court-circuit dans le circuit du déclencheur côté passager avant (B1805/52-B1808/52)

Toyota Yaris Revue Technique / Systemes De Retenue Supplementaire: Systeme D'airbag (pour Hatchback) / Court-circuit dans le circuit du déclencheur côté passager avant (B1805/52-B1808/52)

DESCRIPTION

Le circuit de déclencheur côté passager avant se compose de l'ensemble de capteur d'airbag et de l'ensemble d'airbag de tableau de bord côté passager.

L'ensemble de capteur d'airbag utilise ce circuit pour déployer l'airbag lorsque les conditions de déploiement sont remplies.

Ces DTC sont enregistrés lorsqu'un dysfonctionnement est détecté dans le circuit du déclencheur côté passager avant.

N° de DTC

Condition de détection du DTC

Organe incriminé

B1805/52

  • L'ensemble de capteur d'airbag reçoit un signal de court-circuit dans le circuit de déclencheur côté passager avant au cours de la vérification primaire.
  • Dysfonctionnement du déclencheur côté passager avant
  • Dysfonctionnement de l'ensemble de capteur d'airbag
  • Câble de tableau de bord
  • Câble de tableau de bord n° 2
  • Ensemble d'airbag de tableau de bord côté passager (déclencheur côté passager avant)
  • Ensemble de capteur d'airbag

B1806/52

  • L'ensemble de capteur d'airbag reçoit un signal de coupure de circuit dans le circuit de déclencheur côté passager avant.
  • Dysfonctionnement du déclencheur côté passager avant
  • Dysfonctionnement de l'ensemble de capteur d'airbag

B1807/52

  • L'ensemble de capteur d'airbag reçoit un signal de court-circuit à la masse dans le circuit du déclencheur côté passager avant.
  • Dysfonctionnement du déclencheur côté passager avant
  • Dysfonctionnement de l'ensemble de capteur d'airbag

B1808/52

  • L'ensemble de capteur d'airbag reçoit un signal de court-circuit en B+ dans le circuit de déclencheur côté passager avant.
  • Dysfonctionnement du déclencheur côté passager avant
  • Dysfonctionnement de l'ensemble de capteur d'airbag

SCHEMA DE CABLAGE

PROCEDURE DE VERIFICATION

CONSEIL:

  • Effectuer la méthode de simulation en sélectionnant le mode de vérification (Signal Check) à l'aide du Techstream .
  • Après avoir sélectionné le mode de vérification (Signal Check), effectuer la méthode de simulation en secouant légèrement chaque connecteur du système d'airbag ou en conduisant le véhicule en ville ou sur une route en mauvais état .

PROCEDURE

1.

VERIFIER LES CONNECTEURS

(a) Mettre le contacteur d'allumage en position OFF.

(b) Débrancher le câble de la borne négative (-) de la batterie.

ATTENTION:

Attendre au moins 90 secondes après avoir débranché le câble de la borne négative (-) de la batterie pour désactiver le système SRS.

(c) S'assurer que les connecteurs sont correctement branchés sur l'ensemble d'airbag de tableau de bord côté passager et sur l'ensemble de capteur d'airbag. S'assurer aussi que les connecteurs reliant le câble de tableau de bord au câble de tableau de bord n° 2 sont correctement branchés.

OK:

Les connecteurs sont correctement branchés.

CONSEIL:

Si les connecteurs ne sont pas branchés correctement, les rebrancher et passer à la vérification suivante.

(d) Débrancher les connecteurs de l'ensemble d'airbag de tableau de bord côté passager et de l'ensemble de capteur d'airbag. Débrancher également le câble de tableau de bord du câble de tableau de bord n° 2.

(e) Vérifier si les bornes des connecteurs ne sont pas endommagées.

OK:

Les bornes ne sont ni déformées ni endommagées.

(f) S'assurer que le connecteur de câble de tableau de bord n° 2 (sur l'ensemble d'airbag de tableau de bord côté passager) n'est pas endommagé.

OK:

Le bouton de verrouillage n'est pas libéré et la griffe de verrouillage n'est ni déformée ni endommagée.

(g) S'assurer que les ressorts de court-circuit pour le câble de tableau de bord et le câble de tableau de bord n° 2 avec mécanisme de prévention d'activation ne sont ni déformés ni endommagés.

OK:

Les ressorts de court-circuit ne sont ni déformés ni endommagés.

Texte du schéma

*1

Ensemble d'airbag de tableau de bord côté passager

*2

Ensemble de capteur d'airbag

*3

Câble de tableau de bord n° 2

*4

Câble de tableau de bord

INCORRECT

REMPLACER LE FAISCEAU DE CABLES

OK

2.

VERIFIER L'ENSEMBLE D'AIRBAG DE TABLEAU DE BORD COTE PASSAGER (DECLENCHEUR COTE PASSAGER AVANT)

(a) Brancher le câble de tableau de bord sur le câble de tableau de bord n° 2 et sur l'ensemble de capteur d'airbag.

(b) Raccorder le SST (résistance 2,1 Ω) au connecteur E (connecteur orange).

ATTENTION:

Ne jamais brancher le tester sur l'ensemble d'airbag de tableau de bord côté passager (déclencheur côté passager avant) pour procéder à une mesure, car cela pourrait occasionner des blessures graves suite au déploiement de l'airbag.

REMARQUE:

  • Ne pas forcer pour introduire le SST dans les bornes du connecteur lors du branchement.
  • Veiller à introduire le SST bien dans l'axe des bornes du connecteur.

SST: 09843-18061

(c) Brancher le câble sur la borne négative (-) de la batterie.

(d) Mettre le contacteur d'allumage en position ON et attendre 60 secondes minimum.

(e) Supprimer les DTC enregistrés dans la mémoire .

(f) Mettre le contacteur d'allumage en position OFF.

(g) Mettre le contacteur d'allumage en position ON et attendre 60 secondes minimum.

(h) Vérifier les DTC .

OK:

Le DTC B1805/52, B1806/52, B1807/52 ou B1808/52 n'est pas émis.

Texte du schéma

*1

Ensemble d'airbag de tableau de bord côté passager

*2

Ensemble de capteur d'airbag

*3

Connecteur E

*a

Vue avant du connecteur côté faisceau de câbles

(vers l'ensemble d'airbag de tableau de bord côté passager)

*b

Couleur: Orange

CONSEIL:

Des codes autres que les DTC B1805/52, B1806/52, B1807/52 et B1808/52 peuvent être émis à ce stade, mais ils sont sans objet pour cette vérification.

(i) Mettre le contacteur d'allumage en position OFF.

(j) Débrancher le câble de la borne négative (-) de la batterie.

ATTENTION:

Attendre au moins 90 secondes après avoir débranché le câble de la borne négative (-) de la batterie pour désactiver le système SRS.

(k) Débrancher le SST du connecteur E.

INCORRECT

PASSER AU POINT 3

OK

REMPLACER L'ENSEMBLE D'AIRBAG DE TABLEAU DE BORD COTE PASSAGER

3.

VERIFIER LE CIRCUIT DU DECLENCHEUR COTE PASSAGER AVANT

(a) Débrancher le câble de tableau de bord de l'ensemble de capteur d'airbag.

(b) Rechercher un éventuel court-circuit en B+ dans le circuit.

(1) Brancher le câble sur la borne négative (-) de la batterie.

(2) Mettre le contacteur d'allumage en position ON.

(3) Mesurer la tension en fonction de la (des) valeur(s) indiquée(s) dans le tableau ci-dessous.

Tension standard:

Branchement du tester

Position du contacteur

Condition spécifiée

Q10-1 (P-) - Masse de carrosserie

Contacteur d'allumage en position ON

En dessous de 1 V

Q10-2 (P+) - Masse de carrosserie

Contacteur d'allumage en position ON

En dessous de 1 V

(c) Rechercher une éventuelle coupure dans le circuit.

(1) Mettre le contacteur d'allumage en position OFF.

(2) Débrancher le câble de la borne négative (-) de la batterie.

ATTENTION:

Attendre au moins 90 secondes après avoir débranché le câble de la borne négative (-) de la batterie pour désactiver le système SRS.

(3) Mesurer la résistance en fonction de la (des) valeur(s) indiquée(s) dans le tableau ci-dessous.

Résistance standard:

Branchement du tester

Condition

Condition spécifiée

Q10-1 (P-) - Q10-2 (P+)

En permanence

En dessous de 1 Ω

(d) Rechercher un court-circuit à la masse dans le circuit.

(1) Mesurer la résistance en fonction de la (des) valeur(s) indiquée(s) dans le tableau ci-dessous.

Résistance standard:

Branchement du tester

Condition

Condition spécifiée

Q10-1 (P-) - Masse de carrosserie

En permanence

1 MΩ minimum

Q10-2 (P+) - Masse de carrosserie

En permanence

1 MΩ minimum

(e) Rechercher un éventuel court-circuit dans le circuit.

(1) Désactiver le mécanisme de prévention d'activation intégré au connecteur B .

(2) Mesurer la résistance en fonction de la (des) valeur(s) indiquée(s) dans le tableau ci-dessous.

Résistance standard:

Branchement du tester

Condition

Condition spécifiée

Q10-1 (P-) - Q10-2 (P+)

En permanence

1 MΩ minimum

Texte du schéma

*1

Ensemble d'airbag de tableau de bord côté passager

*2

Ensemble de capteur d'airbag

*3

Connecteur E

*a

Vue avant du connecteur côté faisceau de câbles

(vers l'ensemble d'airbag de tableau de bord côté passager)

*b

Couleur: Orange

(f) Remettre le mécanisme de prévention d'activation du connecteur B déverrouillé dans sa position d'origine.

INCORRECT

PASSER AU POINT 5

OK

4.

VERIFIER DTC

(a) Brancher les connecteurs sur l'ensemble d'airbag de tableau de bord côté passager et sur l'ensemble de capteur d'airbag.

(b) Brancher le câble sur la borne négative (-) de la batterie.

(c) Mettre le contacteur d'allumage en position ON et attendre 60 secondes minimum.

(d) Supprimer les DTC enregistrés dans la mémoire .

(e) Mettre le contacteur d'allumage en position OFF.

(f) Mettre le contacteur d'allumage en position ON et attendre 60 secondes minimum.

(g) Vérifier les DTC .

OK:

Le DTC B1805/52, B1806/52, B1807/52 ou B1808/52 n'est pas émis.

Texte du schéma

*1

Ensemble d'airbag de tableau de bord côté passager

*2

Ensemble de capteur d'airbag

CONSEIL:

Des codes autres que les DTC B1805/52, B1806/52, B1807/52 et B1808/52 peuvent être émis à ce stade, mais ils sont sans objet pour cette vérification.

INCORRECT

REMPLACER L'ENSEMBLE DE CAPTEUR D'AIRBAG

OK

UTILISER LA METHODE DE SIMULATION POUR EFFECTUER LA VERIFICATION

5.

VERIFIER LE CABLE DE TABLEAU DE BORD

(a) Débrancher le câble de tableau de bord n° 2 du câble de tableau de bord.

(b) Rechercher un éventuel court-circuit en B+ dans le circuit.

(1) Brancher le câble sur la borne négative (-) de la batterie.

(2) Mettre le contacteur d'allumage en position ON.

(3) Mesurer la tension en fonction de la (des) valeur(s) indiquée(s) dans le tableau ci-dessous.

Tension standard:

Branchement du tester

Position du contacteur

Condition spécifiée

DQ3-1 (P+) - Masse de carrosserie

Contacteur d'allumage en position ON

En dessous de 1 V

DQ3-2 (P-) - Masse de carrosserie

Contacteur d'allumage en position ON

En dessous de 1 V

(c) Rechercher une éventuelle coupure dans le circuit.

(1) Mettre le contacteur d'allumage en position OFF.

(2) Débrancher le câble de la borne négative (-) de la batterie.

ATTENTION:

Attendre au moins 90 secondes après avoir débranché le câble de la borne négative (-) de la batterie pour désactiver le système SRS.

(3) Mesurer la résistance en fonction de la (des) valeur(s) indiquée(s) dans le tableau ci-dessous.

Résistance standard:

Branchement du tester

Condition

Condition spécifiée

DQ3-1 (P+) - DQ3-2 (P-)

En permanence

En dessous de 1 Ω

(d) Rechercher un court-circuit à la masse dans le circuit.

(1) Mesurer la résistance en fonction de la (des) valeur(s) indiquée(s) dans le tableau ci-dessous.

Résistance standard:

Branchement du tester

Condition

Condition spécifiée

DQ3-1 (P+) - Masse de carrosserie

En permanence

1 MΩ minimum

DQ3-2 (P-) - Masse de carrosserie

En permanence

1 MΩ minimum

(e) Rechercher un éventuel court-circuit dans le circuit.

(1) Désactiver le mécanisme de prévention d'activation intégré au connecteur B .

(2) Mesurer la résistance en fonction de la (des) valeur(s) indiquée(s) dans le tableau ci-dessous.

Résistance standard:

Branchement du tester

Condition

Condition spécifiée

DQ3-1 (P+) - DQ3-2 (P-)

En permanence

1 MΩ minimum

Texte du schéma

*1

Ensemble d'airbag de tableau de bord côté passager

*2

Ensemble de capteur d'airbag

*3

Câble de tableau de bord n° 2

*4

Câble de tableau de bord

*5

Connecteur C

*a

Vue avant du connecteur côté faisceau de câbles

(vers le câble de tableau de bord n° 2)

(f) Remettre le mécanisme de prévention d'activation du connecteur B déverrouillé dans sa position d'origine.

INCORRECT

REMPLACER LE CABLE DE TABLEAU DE BORD

OK

6.

VERIFIER LE CABLE DE TABLEAU DE BORD N° 2

(a) Rechercher un éventuel court-circuit en B+ dans le circuit.

(1) Brancher le câble sur la borne négative (-) de la batterie.

(2) Mettre le contacteur d'allumage en position ON.

(3) Mesurer la tension en fonction de la (des) valeur(s) indiquée(s) dans le tableau ci-dessous.

Tension standard:

Branchement du tester

Position du contacteur

Condition spécifiée

Q10-1 (P-) - Masse de carrosserie

Contacteur d'allumage en position ON

En dessous de 1 V

Q10-2 (P+) - Masse de carrosserie

Contacteur d'allumage en position ON

En dessous de 1 V

(b) Rechercher une éventuelle coupure dans le circuit.

(1) Mettre le contacteur d'allumage en position OFF.

(2) Débrancher le câble de la borne négative (-) de la batterie.

ATTENTION:

Attendre au moins 90 secondes après avoir débranché le câble de la borne négative (-) de la batterie pour désactiver le système SRS.

(3) Mesurer la résistance en fonction de la (des) valeur(s) indiquée(s) dans le tableau ci-dessous.

Résistance standard:

Branchement du tester

Condition

Condition spécifiée

Q10-1 (P-) - Q10-2 (P+)

En permanence

En dessous de 1 Ω

(c) Rechercher un court-circuit à la masse dans le circuit.

(1) Mesurer la résistance en fonction de la (des) valeur(s) indiquée(s) dans le tableau ci-dessous.

Résistance standard:

Branchement du tester

Condition

Condition spécifiée

Q10-1 (P-) - Masse de carrosserie

En permanence

1 MΩ minimum

Q10-2 (P+) - Masse de carrosserie

En permanence

1 MΩ minimum

(d) Rechercher un éventuel court-circuit dans le circuit.

(1) Désactiver le mécanisme de prévention d'activation intégré au connecteur D .

(2) Mesurer la résistance en fonction de la (des) valeur(s) indiquée(s) dans le tableau ci-dessous.

Résistance standard:

Branchement du tester

Condition

Condition spécifiée

Q10-1 (P-) - Q10-2 (P+)

En permanence

1 MΩ minimum

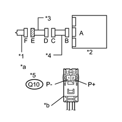
Texte du schéma

*1

Ensemble d'airbag de tableau de bord côté passager

*2

Ensemble de capteur d'airbag

*3

Câble de tableau de bord n° 2

*4

Câble de tableau de bord

*5

Connecteur E

*a

Vue avant du connecteur côté faisceau de câbles

(vers l'ensemble d'airbag de tableau de bord côté passager)

*b

Couleur: Orange

(e) Remettre le mécanisme de prévention d'activation du connecteur D déverrouillé dans sa position d'origine.

INCORRECT

REMPLACER LE CABLE DE TABLEAU DE BORD N° 2

OK

UTILISER LA METHODE DE SIMULATION POUR EFFECTUER LA VERIFICATION

    Court-circuit dans le circuit du déclencheur côté conducteur (B1800/51-B1803/51)

    Court-circuit dans le circuit de 2ème niveau du déclencheur côté conducteur (B1810/53-B1813/53)

    Toyota Yaris Notice d'utilisation

    Toyota Yaris Revue Technique

    © 2018-2026 www.toyafr.com
    0.0128